5" Half Round Gutter Spacer Professional Grade Support Bracket Black Copper White

$3.91

Shipping calculated at checkout

Available Now!

Single
50 pc's
 
 
 
 

5" Half Round Gutter Spacer Brackets

Professional Support System | Black, Copper, White Finishes | Heavy-Duty Fascia Mount

Trusted by GutterAll.com

Professional Gutter Installation & Supplies Since 2010

Location:
19759 SE Sunnyside Rd
Damascus, OR 97089
Availability:
Professional grade in stock
Contact:
sales@gutterall.com
Support:
(503) 496-7017

PROFESSIONAL 5" HALF ROUND GUTTER SUPPORT SYSTEM

Heavy-duty spacer brackets engineered for superior strength and precise fitment

Save Big with Contractor Direct Pricing - Professional Quality for Everyone!

CONTACT FOR WHOLESALE PRICING - LIFETIME PERFORMANCE GUARANTEE

5 inch half round gutter spacer bracket showing professional mounting design

Professional-grade spacer bracket with precision mounting holes

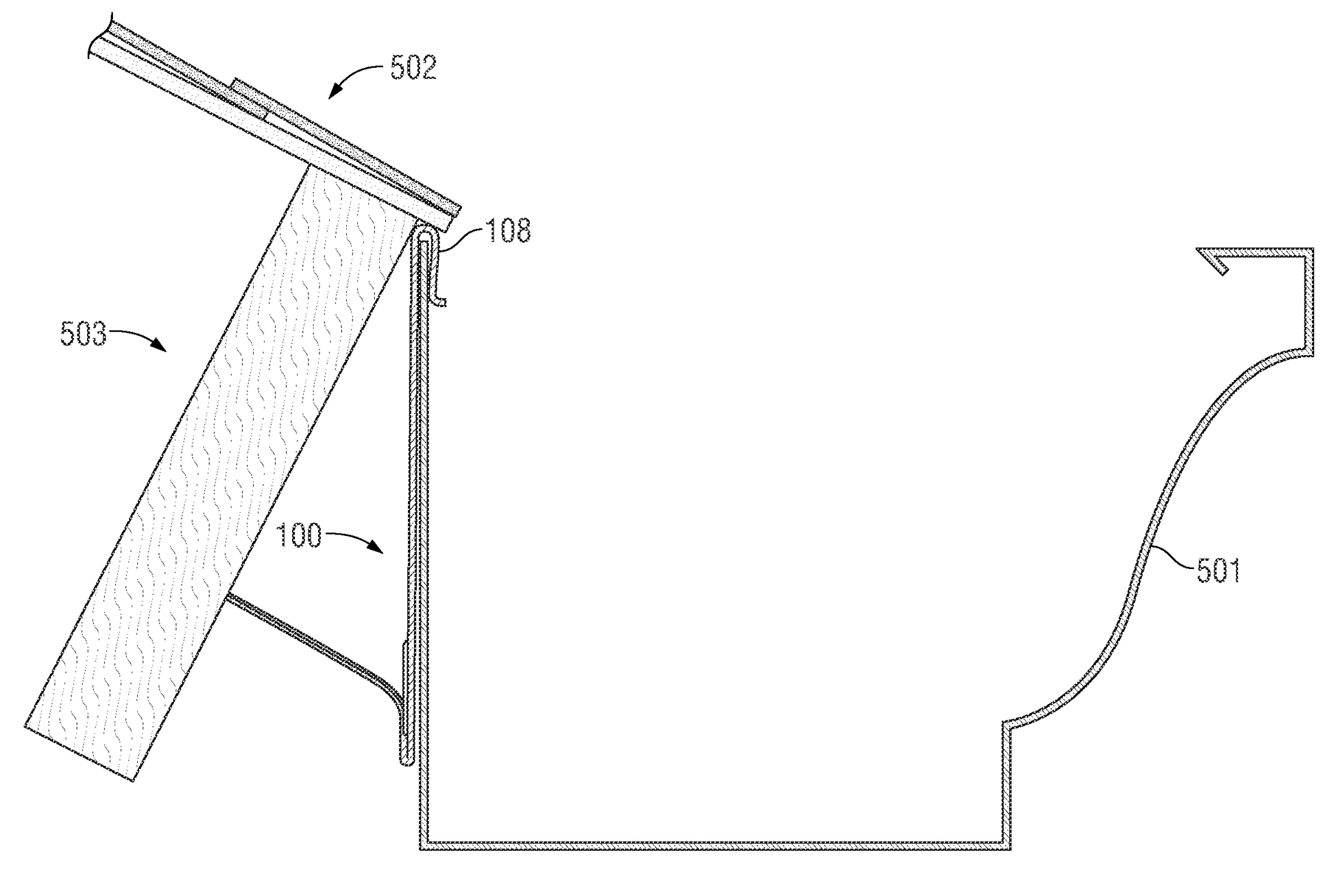
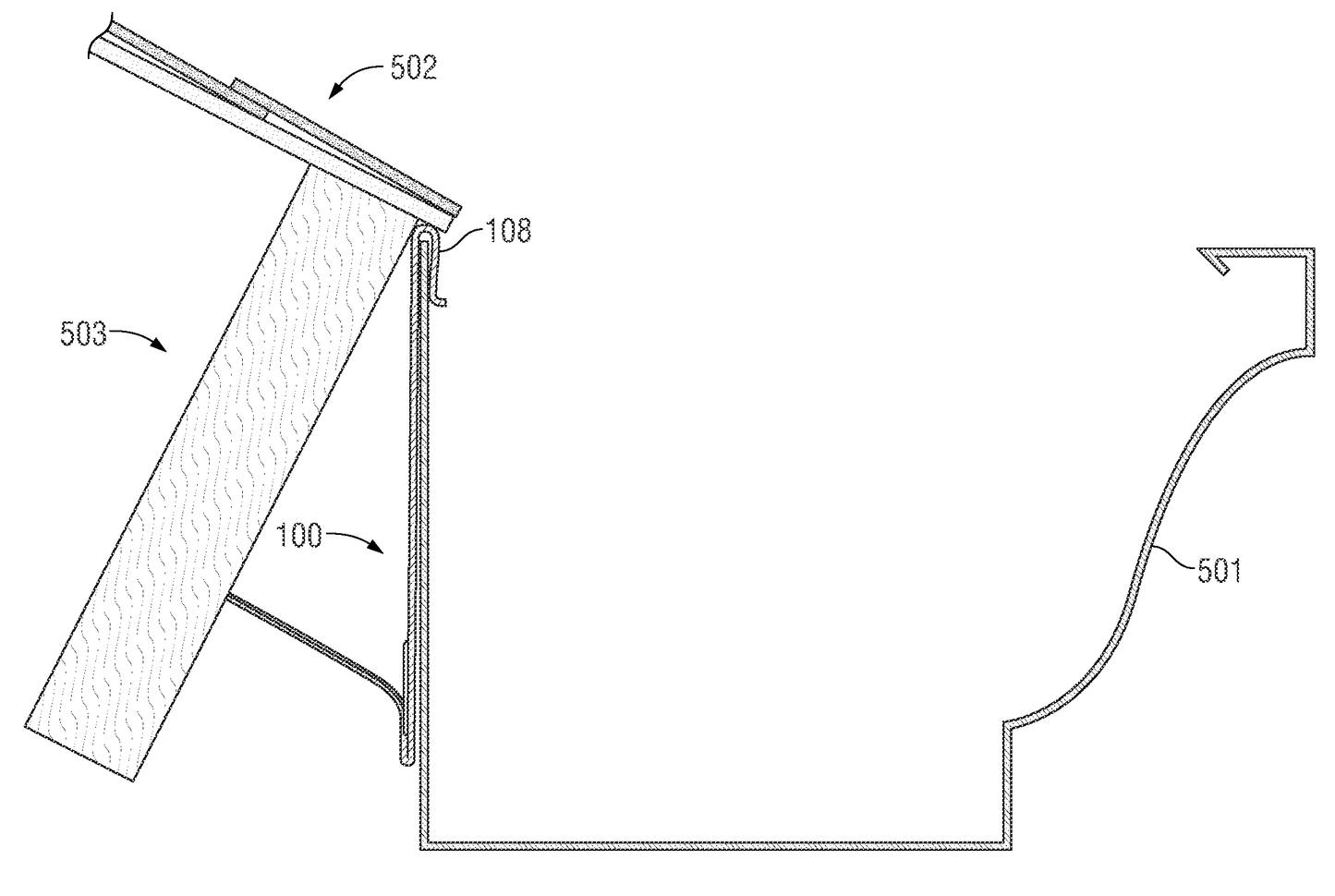
Technical installation diagram showing proper gutter bracket placement and fascia mounting

Professional installation diagram showing proper fascia mounting technique

Professional-Grade Half Round Gutter Support Solution

Secure your 5" half round gutter system with our premium spacer brackets, engineered for professional installations demanding maximum strength and precise alignment. Available in three architectural finishes - Black, Copper, and White - these heavy-duty support brackets prevent sagging, maintain proper slope, and ensure decades of reliable performance across all climate zones.

šŸ—ļø
Professional-Grade Construction

Heavy-duty metal for maximum load capacity

šŸ“
Precision Curved Profile

Perfect fit for 5" half round gutters

šŸŽØ
Three Designer Finishes

Black, Copper, White to match any style

⚔
Quick Professional Installation

Direct fascia mount system

Professional Installation Diagram & Specifications

Fascia Board 5" Half Round Gutter Spacer Bracket Stainless Steel Screws 24-30" Spacing 24-30" Spacing Professional Installation Layout

Technical Specifications & Finish Options

Core Specifications

  • Compatibility: 5" Half Round Gutters
  • Material: Professional-grade metal construction
  • Mount Type: Direct fascia mount
  • Load Capacity: Heavy-duty support rating
  • Spacing: 24-30 inches on center
  • Installation: Stainless steel screw mounting
  • Code Compliance: Meets national building codes

Available Finishes

  • Black: Classic finish for modern/traditional homes
  • Copper: Premium finish for distinctive architecture
  • White: Clean finish to match white fascia/trim
  • Corrosion Resistance: All finishes weather-resistant
  • UV Stability: Color-fast in all climates
  • Durability: Decades of maintenance-free performance
  • Compatibility: Matches standard gutter colors

Professional Applications & Performance Benefits

Structural Support Excellence

  • Prevents gutter sagging under load
  • Maintains proper water flow slope
  • Distributes weight evenly across fascia
  • Handles snow, ice, and debris loads

Perfect for: High-performance gutter systems

Professional Installation Benefits

  • Quick mounting with standard tools
  • Precise alignment for perfect fit
  • Secure attachment to fascia board
  • Professional appearance and performance

Perfect for: Contractor and DIY installations

Long-Term Performance

  • Weather-resistant finish protection
  • Corrosion-resistant construction
  • UV-stable colors won't fade
  • Decades of maintenance-free service

Perfect for: All climate zones and conditions

SAFETY & PROFESSIONAL INSTALLATION NOTICE

PROFESSIONAL INSTALLATION STRONGLY RECOMMENDED

Gutter installation requires working at height with proper safety equipment. NEVER walk on roofs or lean out from ladders. Use OSHA-approved fall protection for work 6+ feet high. Professional contractors have proper equipment, insurance, and expertise for safe installation. Follow all local building codes and manufacturer specifications.

Contractor Direct Pricing - Professional Quality for Everyone

5-Piece Starter Pack

Wholesale Pricing Available

Perfect for: Small repairs and testing

Minimum order quantity

CONTRACTOR PREFERRED

50-Piece Contractor Box

Save 40-55% Off Retail

Perfect for: Residential gutter projects

Most popular professional size

Custom Bulk Orders

Special Project Pricing

Perfect for: Large developments

All three finishes available

Nationwide Shipping & Local Pickup Options

Standard Shipping

  • Ships to all 50 states
  • Professional packaging included
  • Order tracking provided
  • 2-4 business day processing

Delivery: 5-7 business days nationwide

Expedited Shipping

  • Priority processing available
  • Express shipping options
  • Rush orders accommodated
  • Same-day processing when possible

Delivery: 2-3 business days

Local Pickup Available

  • Damascus, OR location pickup
  • No shipping charges
  • Call ahead for availability
  • Professional consultation available

Address: 19759 SE Sunnyside Rd, Damascus, OR 97089

Professional Installation Guide for Half Round Gutter Spacers

Follow these professional techniques for optimal spacer bracket performance and gutter system integrity.

  1. Mark bracket locations every 24-30 inches along fascia board
  2. Ensure proper gutter slope (1/4 inch per 10 feet toward downspouts)
  3. Select appropriate finish to match gutter and trim colors
  4. Secure brackets to fascia using stainless steel screws
  5. Check alignment and spacing before installing gutter sections
  6. Install half round gutter sections into spacer brackets
  7. Test water flow and adjust as needed for optimal performance

GutterAll Professional Performance Guarantee

Superior strength and precise fitment guaranteed. These premium half round gutter spacer brackets provide the ultimate combination of structural support, professional appearance, and long-term reliability for your most demanding gutter installation projects. Trusted by contractors nationwide for decades of maintenance-free performance.

Professional Support & Pricing: (503) 496-7017

PROFESSIONAL 5" HALF ROUND GUTTER SUPPORT SYSTEM

Complete professional-grade support solution with lifetime performance

Three designer finishes

Heavy-duty construction

Professional installation

Contractor direct pricing

CONTACT FOR WHOLESALE PRICING - NATIONWIDE SHIPPING

Half Round Gutter Spacer FAQ - All Objections Addressed

Why do I need spacer brackets for half round gutters?

Half round gutters require proper support to maintain their curved shape and prevent sagging. Spacer brackets distribute weight evenly across the fascia board, maintain proper water flow slope, and prevent the gutter from pulling away from the house. Without adequate support, gutters can sag, creating standing water that leads to overflow, ice dams, and structural damage.

How many spacer brackets do I need for my gutter project?

Install spacer brackets every 24-30 inches for optimal support, with closer spacing (24 inches) recommended in areas with heavy snow loads. For a typical single-story home, you'll need 15-25 brackets per side. Two-story homes may require 30-50 brackets total. Always add extra brackets near downspouts and corners where stress is highest. Our 50-piece contractor box handles most residential projects.

Which finish should I choose for my home's architecture?

Choose Black for modern homes or to match dark gutters and trim. Select Copper for premium homes with copper gutters or distinctive architectural styles - it develops a natural patina over time. Pick White to match white fascia, trim, or gutters for a clean, classic appearance. All finishes are weather-resistant and UV-stable, maintaining their appearance for decades.

Can I install these brackets myself or do I need a professional?

While the brackets themselves are straightforward to install, gutter work requires working at height with proper ladder safety. Professional installation is strongly recommended for safety reasons and to ensure proper alignment, slope, and code compliance. Professionals have the right tools, safety equipment, and experience to guarantee optimal performance and warranty coverage.

Will these brackets work with my existing half round gutters?

Yes, these spacer brackets are specifically designed for standard 5" half round gutters regardless of material - aluminum, steel, or copper. The precision curved profile ensures perfect fit and support. They work with both new installations and gutter replacement projects. If you're unsure about compatibility, contact us with your gutter specifications for confirmation.

What tools do I need for installation?

You'll need a drill with bits, stainless steel screws (1.5" recommended), a level for proper slope, measuring tape, and chalk line for marking bracket locations. Use a ladder with proper safety equipment and have someone spot you. Professional contractors also use laser levels and specialized gutter tools for perfect alignment and efficiency.

How does contractor direct pricing work for homeowners?

We offer contractor direct pricing to everyone, including homeowners and DIY enthusiasts. This means you get the same wholesale pricing that professional contractors receive, typically 40-55% off retail prices depending on quantity. No contractor license required - everyone gets professional pricing on premium gutter support systems.

What's the difference between these and standard gutter hangers?

Spacer brackets provide superior support by distributing load across a larger area of the fascia board, preventing stress concentration that can cause fascia damage. They maintain the gutter's curved profile better than standard hangers and offer more precise positioning. The heavy-duty construction handles greater loads, making them ideal for areas with heavy snow, ice, or debris accumulation.

Do you offer bulk pricing for large commercial projects?

Yes, we offer special bulk pricing for commercial projects, multi-unit developments, and large residential projects. Contact us directly at (503) 496-7017 for custom quotes, delivery coordination, and technical support. We can provide all three finishes in bulk quantities with special packaging and delivery arrangements to meet project timelines.

What's your return policy if the brackets don't fit properly?

We offer a 30-day return policy on unopened packages in original packaging. If you receive defective products or they don't fit your specific gutter system, we provide immediate replacement or refund. We stand behind the quality and compatibility of our spacer brackets and work with customers to ensure complete satisfaction.

How long will these brackets last in harsh weather conditions?

Our professional-grade spacer brackets are engineered for decades of maintenance-free performance in all weather conditions. The weather-resistant finishes protect against UV damage, corrosion, and temperature extremes. They handle freeze-thaw cycles, heavy snow loads, and coastal salt air without degradation. Many installations perform flawlessly for 20+ years with proper installation.

Can I pick up my order locally to save on shipping?

Yes, local pickup is available at our Damascus, Oregon location (19759 SE Sunnyside Rd, Damascus, OR 97089). Call ahead at (503) 496-7017 to confirm availability and schedule pickup. This eliminates shipping charges and allows you to inspect the products before taking them. Our team can also provide installation advice and technical support during pickup.

GutterAll Professional GutterAll https://gutterall.com